Описание
Характеристики
Отзывы
Описание
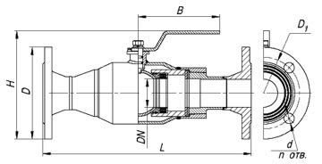
Кран шаровый д/газа МАЛЕН КШИ-100ф, Ру16 предназначены для установки в качестве запорной арматуры на наружные и внутренние трубопроводы нефтяной и газовой промышленности, на магистральных трубопроводах, в системах газораспределения и газопотребления, КИП, на взрывопожароопасных химических, нефтехимических и нефтеперерабатывающих производствах.
Краны шаровые не требуют технического обслуживания.
- Рабочая среда - среды, по отношению к которым применяемые материалы коррозионностойки
- Давление PN - 16; 25; 40 кг/см²
- Сопротивление изолятора - не менее 10 МОм
- Климатическое исполнение по ГОСТ 15150-69*: У1 (-40°C ... +40°C); ХЛ1 (-60°C ... +40°C)
- Материалы основных деталей корпус: ст 20, 09Г2С (для ХЛ1); шар: 12Х18Н10Т уплотнение в затворе: фторопласт или полиуретан (по спец. заказу)
- Класс герметичности - «A» ГОСТ Р 54808-2011
- Тип присоединения к трубопроводу - фланцевое
- Установочное положение - любое
- Наружное антикоррозионное покрытие - Эпоксидно-полимерное INVERPUL MP BT FAST 331
- Ресурс крана - 4000 циклов
- Гарантийный срок - 12 месяцев
- Срок службы - 15 лет
Изготовление и поставка по ТУ 3742-003-35506687-98
Характеристики
Бренд
МАЛЕН
Страна производства
Россия
Рабочая температура, °С
от - 60 до + 40
Присоединительный размер
4" (Dn 100)
Вид
газовый
Тип присоединения
Фланцевый
Изоляция
есть
Строительная длина, мм
460
Тип ручки
рычаг
Максимальное рабочее давление, МПа
1,6
Тип прохода
полный проход
Вес, кг
28
Отзывы
Отзывов еще никто не оставлял
Ранее просмотренные
